- Код товара:221171-01Скопирован
- Артикул:LS_590010
Основные
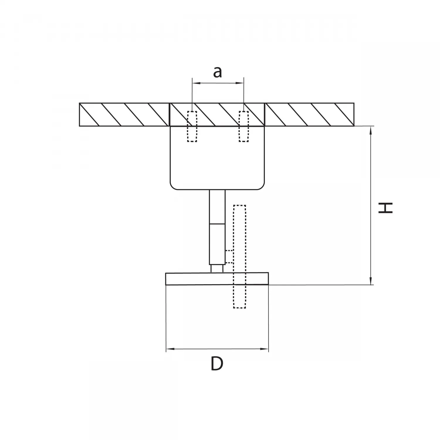
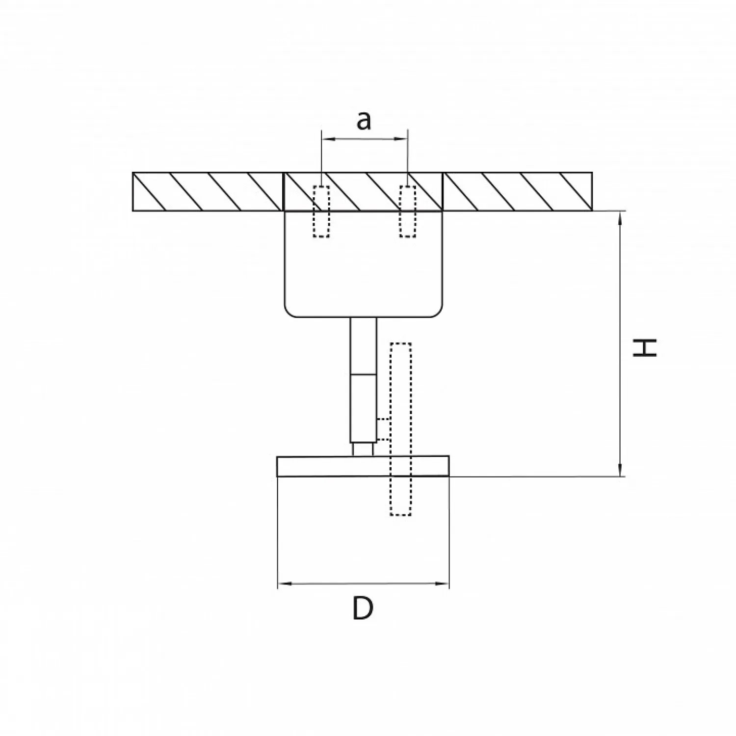
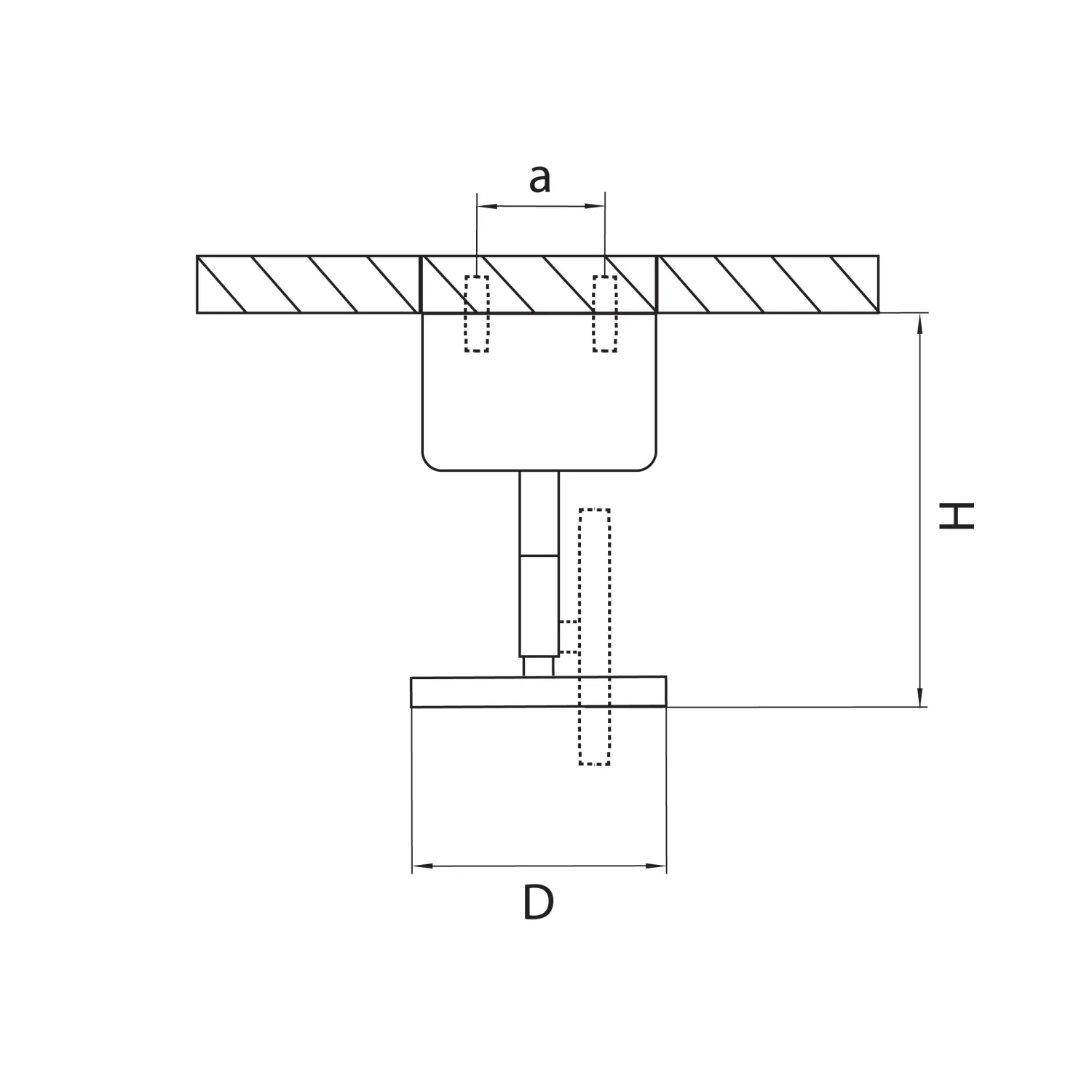
Размеры
Цвет и материал
Лампы
Дополнительно
Магазин ImperiumLOFT представляет Вашему вниманию Основание на штанге Lightstar Rullo 590010 от производителя - Lightstar.
Данная модель настоящая находка для богатых интерьеров и чудесно впишется в Ваш дизайн.
Порадуйте свой дом светом в совершенном обрамлении! Тем более, когда оно возможно по особенно привлекательной цене. Все товары нашего магазина сертифицированы с гарантией от 12 месяцев.
Интернет-магазин ImperiumLOFT доставит Ваш заказ по Москве, Санкт-Петербургу и всей России. Купить представленную модель из раздела «Светильники» можно по цене указанной в карточке. Так же наша компания является производителем большинства продукции и может изготовить светильник по Вашему дизайн-проекту, по чертежам за короткий срок. Основание на штанге Lightstar Rullo 590010 – идеальное решение для создания комфортной и стильной обстановки в вашем доме или офисе.
Это универсальное основание на штанге идеально подходит для любых видов штор. Оно выполнено из высококачественных материалов, что гарантирует его долговечность и надежность. Основание на штанге Lightstar Rullo 590010 легко монтируется и подходит для любых типов оконных проемов.
Благодаря своей элегантной и современной конструкции, основание на штанге Lightstar Rullo 590010 станет не только функциональным элементом, но и стильным акцентом в вашем интерьере. Оно прекрасно сочетается с любым стилем дизайна, добавляя изысканности и уюта в помещение.
Кроме того, основание на штанге Lightstar Rullo 590010 обладает прочными и надежными креплениями, которые обеспечивают стабильность и безопасность использования. Вы сможете наслаждаться своими шторами, зная, что они надежно закреплены и будут служить вам долгое время.
Не упустите возможность приобрести основание на штанге Lightstar Rullo 590010 и создать уютную атмосферу в вашем доме или офисе. Покупайте сейчас и наслаждайтесь красотой и функциональностью этого прекрасного товара!
Доставка по Москве (в пределах МКАД)
- Минимальная сумма заказа для Москвы - 1000 ₽
- Доставка по Москве (в пределах МКАД) - 350 ₽
- Подъем товара в вашу квартиру — бесплатно (в случае если товар легкий и необъемный)
Доставка по Московской области (за пределами МКАД)
350 ₽ + 35 ₽ за 1 км (в пределах 20 км), дальше действует тариф "Доставка в регионы России"
Доставка до пункта выдачи заказов СДЭК - 350 ₽
Осуществляется транспортными компаниями
- Доставка до пункта выдачи заказов в вашем городе - 500-1500 ₽, в зависимости от веса и объема.
- Доставка до вашего порога - 700-2000 ₽, в зависимости от веса и объема.
- Средний срок поставки - 3-5 дней, товар отправляется на следующий день после заказа, далее сроки поставки транспортной компании.
Вы можете самостоятельно забрать ваш заказ в офисе нашей компании уже на следующий день, если товар был заказан до 11:00.
Так же вы можете заказать доставку до пункта выдачи заказов СДЭК, вся информация будет предоставлена при оформлении заказа.
Минимальная сумма заказа для Самовывоза - 1000 ₽
Адрес пункта самовывоза:
г.Москва, пос. Московский ,Киевское шоссе 22-й км, домовладение 4, С5, к.Е, 23 офисный подъезд, 4 этаж 402/Е офис
Если вы отказываетесь от товара надлежащего качества, соответствующего указанным на сайте характеристикам, вам необходимо оплатить стоимость обратной доставки в размере 500 рублей (согласно п.3 ст. 497 ГК РФ).
При получении товара вы получите сопроводительные документы, которые курьер вручит вместе с заказом
Внимание! Товары со статусом “под заказ” поставляются только после предоплаты.
При получении товара вы получите сопроводительные документы, которые курьер вручит вместе с заказом
Внимание! Товары со статусом “под заказ” поставляются только после предоплаты.


- Покупатель вправе отказаться от товара в любое время до его передачи, а после его передачи в течение 7 (семи) дней.
- Возврат товара надлежащего качества возможен, в случае если сохранены его товарный вид, потребительские свойства, а также документ, подтверждающий факт и условия покупки указанного товара.
- При отказе потребителя от товара Продавец обязан возвратить Покупателю денежную сумму, уплаченную последнему по договору, за исключением расходов продавца на доставку от Покупателя возвращенного товара, не позднее чем через 10 (десять) дней со дня предъявления Покупателем соответствующего требования.
- Возврат и обмен товара возможен только при сохранении его внешнего вида, целостности упаковки и документов.
Иные условия: Товары, купленные на условиях уценки, не подлежат возврату или обмену. Возврат товара по субъективным причинам («разонравился», «ожидали другого», «не подошел цвет» и тд.) полностью оплачивается покупателем.












































































